JavaScript must be enabled in order for you to see "WP Copy Data Protect" effect. However, it seems JavaScript is either disabled or not supported by your browser. To see full result of "WP Copy Data Protector", enable JavaScript by changing your browser options, then try again.

7124797-0-large

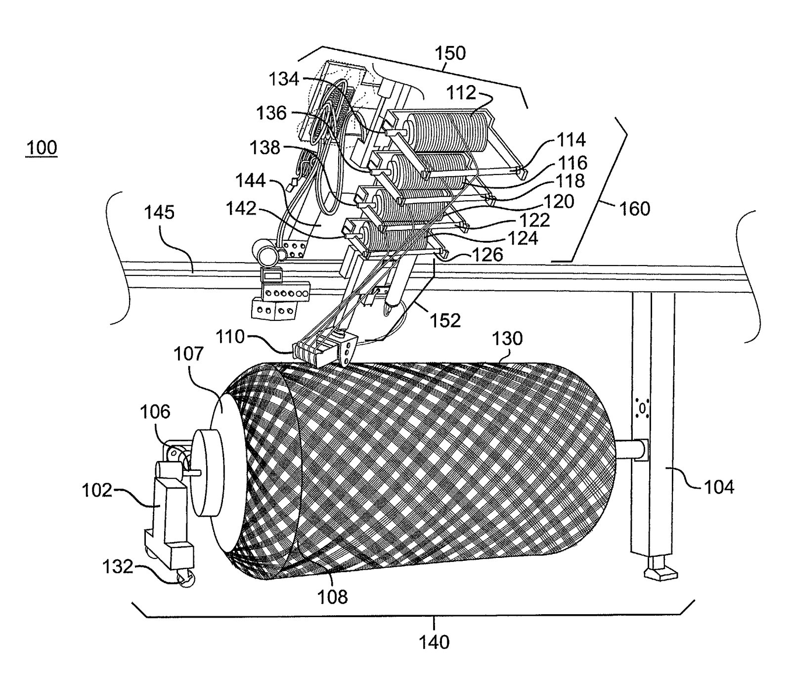
FRP TANK WINDING MACHINE

Scroll to Top

NEED HELP?

WELCOME TO CONTACT US

Hebei Maple FRP Industry Co.,Ltd.

is one of the leading manufacturer of FRP relative products in Northern of China.Presently our factory mainly fouces on researching and developing FRP products production lines.

Contact Us